



AQ空压机安全阀适用于工作温度≤200℃的空气,空压机专用安全阀,当设备内压力超过允许值时,阀门自动开启,继而全量排放,当压力降低到规定值时,阀门自动关闭,保证设备安全运行。 AQ空压机安全阀适用于工作温度≤200℃的空气,空压机专用安全阀,当设备内压力超过允许值时,阀门自动开启,继而全量排放,当压力降低到规定值时,阀门自动关闭,保证设备安全运行。
|
空压机安全阀型号:AQ |
空压机安全阀公称通径:20MM-25MM |
空压机安全阀 使用压力:1.6MPA -4.0MPA |
|
空压机安全阀 连接方式:螺纹连接 |
空压机安全阀形式:弹簧式 |
空压机安全阀 主要功能:泄压保护作用 |
|
空压机安全阀 使用介质:压缩空气 |
空压机安全阀 材质:不锈铁或定做材质 |
空压机安全阀标准:机械部标准或定做非标 |
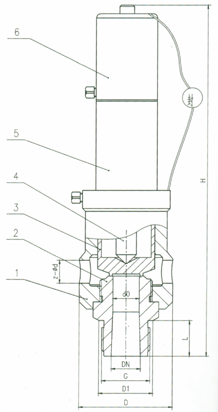
空压机安全阀主要零部件材料
|
NO. |
零件名称 |
AQ-20材料 |
|
1 |
阀体 |
2Cr13 |
|
2 |
阀座 |
2Cr13 |
|
3 |
阀瓣 |
2Cr13 |
|
4 |
阀杆 |
2Cr13 |
|
5 |
阀盖 |
ZG230-450 |
|
6 |
阀帽 |
ZG230-450 |
空压机安全阀外形尺寸和连接尺寸
|
公称通径 |
尺寸 |
||||||
|
do |
G |
D |
D1 |
Z-?d |
L |
H |
|
|
20 |
17 |
G1" |
62 |
44 |
4-17 |
25 |
220 |
|
25 |
20 |
M36×2 |
70 |
50 |
4-20 |
28 |
226 |
订货主要事项
安全阀介质, 压力等级,开启方式(全启/微启)设定起跳压力,确定阀门尺寸,连接方式,标准最大耐温,释放流量/每小时,阀体材质,内部阀体结构,工作原理,安装说明等相关技术资料.安全阀 选型主要依据就是(起跳压力及整齐压力流量温度)口径一般设计院会给出,而实际上通过蒸汽压力,流量及起跳压力,可以推测出安全阀 的尺寸.一般会比设计院所选出的口径小一号.当使用的场合非常重要或环境比较复杂时,请您尽量提供设计图纸和详细参数,由我们的三精阀门公司专家为您审核把关。感谢您访问我们的网站【http://www.cnsjv.com】
订购须知
1、根据使用场所、用途,且了解有关法规、规格、标准、方针、许用认可后既可选用适合各种要求的阀
2、确认阀门的工作条件、使用规格、适用介质、对应材质、操作方式、工作压力、介质温度;
3、确定与管道相匹配的公称通径:DN(mm)、NPS( " );
4、确定与管道相连接方式:法兰式、内(外)螺纹式、焊接式、对夹式、卡箍式、卡套式等;
5、确定阀门操作的驱动方式:手动、蜗轮蜗杆传动、气动、电动、液动、电磁动、电液动等;
6、确认阀门的类型:球阀、闸阀、蝶阀、截止阀、止回阀、调节阀、电磁阀、安全阀、减压阀、疏水阀、针型阀、角座阀、隔膜阀、平衡阀、过滤器及其它特种阀;
7、确定阀门的使用形式:开关型、调节型、安全型、自动型、排放型等;
8、确定阀门壳体及内件的材料:碳钢、合金钢、不锈钢、球墨铸铁、灰铸铁、铜合金、铝合金、塑料等;
9、确定阀门的密封性能要求、密封等级或密封泄漏量;
10、确定阀门的防护涂层要求、包装要求、运输要求;
11、特殊需要的阀门还应确定:结构长度、阀门高度、外型尺寸、流阻、排放能力、流量特性、防护等级、防爆性能等参数;
12、确定阀门的安装位置及姿势。
售后服务承诺
对于贵公司在三精阀门订购阀门产品,我厂在售后服务方面作如下承诺:
一、我公司对产品质量实行三包,即:包质、包换、保修;
二、合同签订后,保证保质、保量,按时交货;
三、本公司确保所提供阀门产品达到合同指标
四、对于需方的技术咨询,随时给予解答;
五、在交付设备时,本厂向需方交付以下资料:发货清单、产品合格证、产品样本、产品使用说明书、技术资料;
当接到用户反应质量问题的信函或电话后,保证24小时内作出答复最快解决问题。



